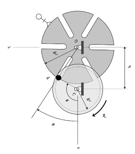
Consider the mechanism shown below made up of a continuously-rotating input drive centered at C (shown on the right) and an output drive centered on O (shown on the left).

A pin P is attached to the input drive that is allowed to slide within radial slots in the output shaft gear as the two drives mesh. During the time period when P is in contact with the slots on the output drive, the rotation of the input drive produces continuous rotation of the output drive. During the remainder of a single rotation of the input drive, the output drive is stationary. Therefore, over one full rotation of the input drive, the output drive experiences intermittent rotation.

During the portion of the motion when the pin is in contact with the output drive slots, the rotation rate of the output shaft ωoutput can calculated using the following set of kinematics equations:
vP = vC + ωinput xrP/C
vP= vO +(vP/O)rel + ωoutput x rP/O
where the first equation is the rigid body kinematics equation for the input drive, and the second equation is the moving reference frame equation using an observer on the output drive. One needs to equate the two expressions for vP to determine ωoutput a function of ωinput.
Application – One application of the Geneva mechanism is in film movie projectors where the film is pulled through the exposure gate of the projector with periodic starts and stops. As seen in the video below, the film advances frame-by-frame, with the film frame being stationary in front of the projector lens during the time when the pin P is not in contact with the output drive, and with the film advancing rapidly during the time when the pin P is in contact with the output drive slots. See the GIF of this motion shown below (source: Physics 4 Engineering). The first usage of the Geneva mechanism for film projection dates back to the 1890’s. Modern-day film projectors typically use stepper motors for the indexing of the film during projection.

